? Wide Input Common Mode and Differential Voltage Ranges
? Low Input Bias and Offset Current
? Output Short-Circuit Protection
? High Input Impedance
? Low Offset Voltage: 4mV (MAX)
? Low Noise: 40nV/ Hz at 1kHz
? Gain-Bandwidth Product: 2MHz
? Slew Rate: 0.6V/μs
? -40℃ to +125℃ Operating Temperature Range
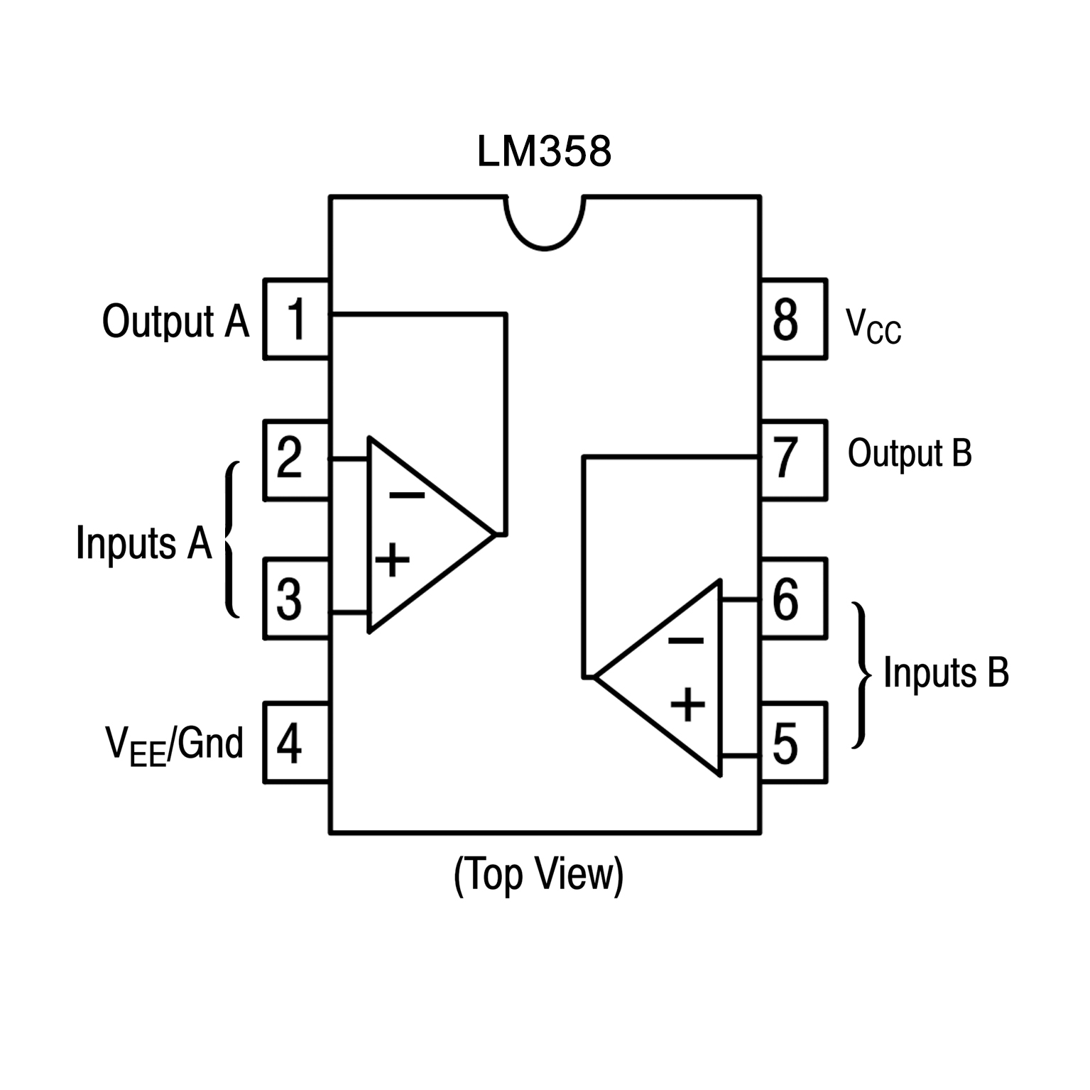
? Available in Green SOIC-8 and MSOP-8 Packages

? Short Circuit Protected Outputs
? True Differential Input Stage
? Single Supply Operation: 3.0 V to 32 V
? Low Input Bias Currents
? Internally Compensated
? Common Mode Range Extends to Negative Supply
? Single and Split Supply Operation
? ESD Clamps on the Inputs Increase Ruggedness of the Device
-without Affecting Operation
? NCV Prefix for Automotive and Other Applications Requiring
-Unique Site and Control Change Requirements; AEC?Q100
-Qualified and PPAP Capable
? These Devices are Pb?Free, Halogen Free/BFR Free and are RoHS
Compliant
