High Speed Comparator, SGM721 Replace TLV316.
SGM721
SGM721.pdf
FEATURES
? Rail-to-Rail Input and Output
? Input Offset Voltage: 4mV (MAX)
? High Gain-Bandwidth Product: 11MHz
? High Slew Rate: 8.5V/μs
? Settling Time to 0.1% with 2V Step: 0.21μs
? Overload Recovery Time: 0.6μs
? Low Noise: 8.5nV/√Hz at 10kHz
? Supply Voltage Range: 2.1V to 5.5V
? Input Voltage Range: -0.1V to 5.6V with VS = 5.5V
? Small Packaging: SC70-5, SOT-23-5 and SOIC-8 Packages
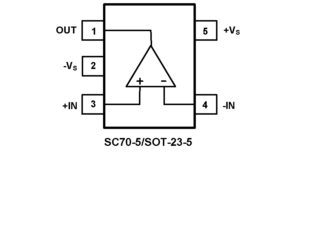
PIN CONFIGUTION

優勢替代
FEATURES
? Unity-Gain Bandwidth: 10 MHz
? Low IQ: 400 μA/ch
– Excellent Power-to-Bandwidth Ratio
– Stable IQ Over Temperature and Supply Range
? Wide Supply Range: 1.8 V to 5.5 V
? Low Noise: 12 nV/√Hz at 1 kHz
? Low Input Bias Current: ±10 pA
? Offset Voltage: ±0.75 mV
? Unity-Gain Stable
? Internal RFI/EMI Filter
PIN CONFIGUTION
