Low Noise Operational Amplifier, SGM721 Replace TP2411.
SGM721
SGM721.pdf
FEATURES
? Rail-to-Rail Input and Output
? Input Offset Voltage: 4mV (MAX)
? High Gain-Bandwidth Product: 11MHz
? High Slew Rate: 8.5V/μs
? Settling Time to 0.1% with 2V Step: 0.21μs
? Overload Recovery Time: 0.6μs
? Low Noise: 8.5nV/√Hz at 10kHz
? Supply Voltage Range: 2.1V to 5.5V
? Input Voltage Range: -0.1V to 5.6V with VS = 5.5V
? Low Power:
SGM721/3: 1.2mA (TYP)
? -40℃ to +125℃ Operating Temperature Range
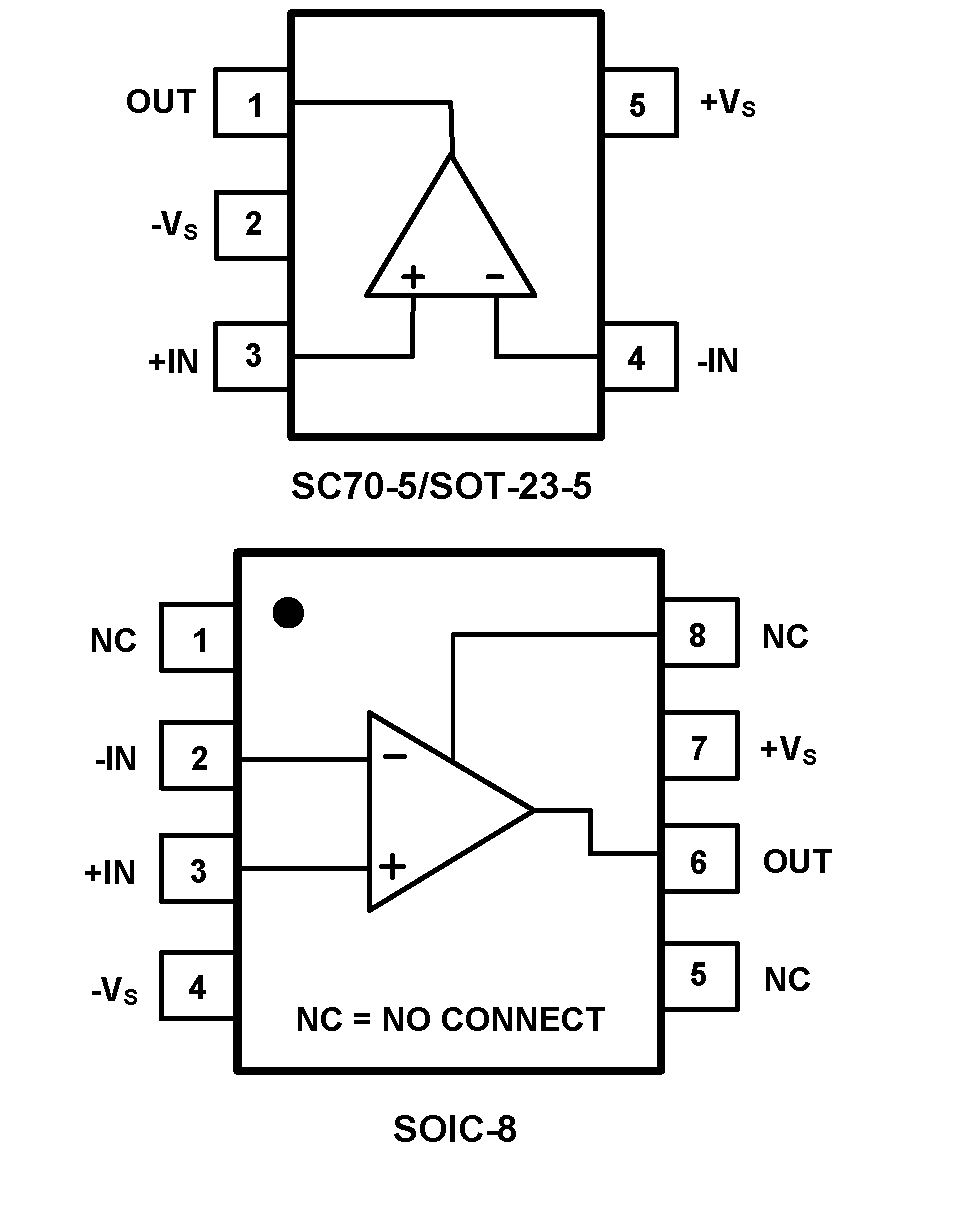
PIN CONFIGUTION

優勢替代
FEATURES
? Gain-bandwidth Product: 10 MHz
? Low Noise: 8.2 nV/√Hz(f= 1kHz)
? Slew Rate: 7 V/μs
? Offset Voltage: 1 mV (max)
? EMIRR IN+: 88 dB( under 2.4GHz)
? Low THD+N: 0.0005%
? Supply Range: 2.2 V to 5.5 V
? Supply Current: 1.4 mA/ch
? Low Input Bias Current: 0.3pA Typical
? Rail-to-Rail I/O
? High Output Current: 70 mA (1.0V Drop)
? –40°C to 125°C Operation Range
PIN CONFIGUTION
