Micro Power operational Amplifier,SGM8240-1 Replace TLV2401.
SGM8240-1
SGM8240-1.pdf
FEATURES
? Low Noise: 3μVP-P (0.1Hz to 10Hz)
? Wide Supply Voltage Range: 2.7V to 24V
? Micro Power Consumption: 2.8μA/Amplifier (TYP)
? Low Offset Voltage: 0.4mV (TYP)
? Noise Density: 100nV/ Hz at 1kHz
? Slew Rate: 0.05V/μs
? Rail-to-Rail Input and Output
? High DC Precision:
CMRR: 110dB
PSRR: 116dB
AOL: 120dB
? -40℃ to +125℃ Operating Temperature Range
? Small Packaging:
SGM8240-1 Available in Green SOT-23-5 and
SC70-5 Packages
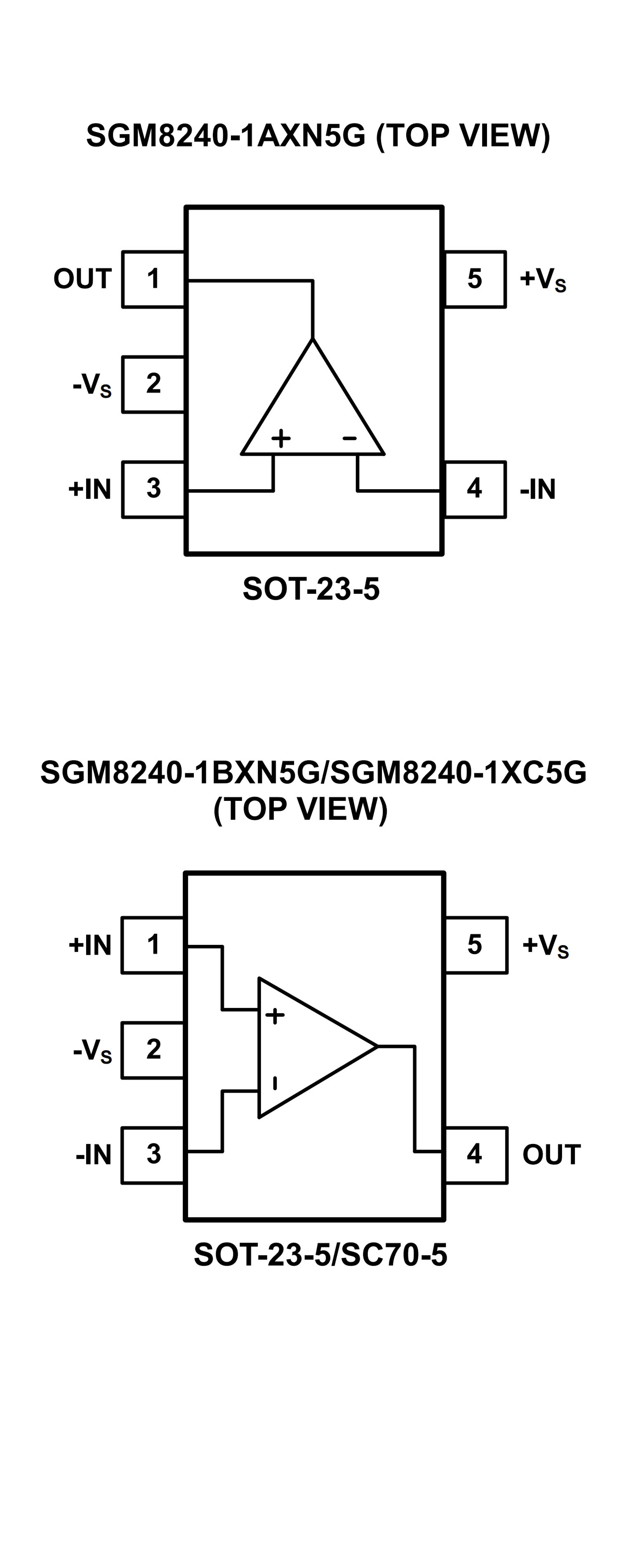
PIN CONFIGUTION

優勢替代
FEATURES
? Micro-Power Operation... CC + 5 V
? Reverse Battery Protection Up To 18 V
Rail-to-Rail Input/Output
? Gain Bandwidth Product... 5.5 kHz
? Supply Voltage Range... 2.5 V to 16 V
? Specified Temperature Range
TA = 0°C to 70°C... Commercial Grade
TA = -40°C to 125°C... Industrial Grade
? Ultrasmall Packaging
5-Pin SOT-23 (TLV2401)
8-Pin MSOP (TLV2402)
? Universal OpAmp EVM (Refer to the EVM
Selection Guide SLOU060)
PIN CONFIGUTION
