High Precision Operational Amplifier, SGM8957-1 Replace TLV333.
SGM8957-1
SGM8957-1.pdf
FEATURES
? Low Offset Voltage: 25μV (MAX)
? Low 0.1Hz to 10Hz Noise: 2μVP-P
? Quiescent Current: 20μA/Amplifier (TYP)
? Single Supply Operation
? Integrated RFI Filter
? Supply Voltage Range: 1.8V to 5.5V
? Rail-to-Rail Input/Output
? -40℃ to +125℃ Operating Temperature Range
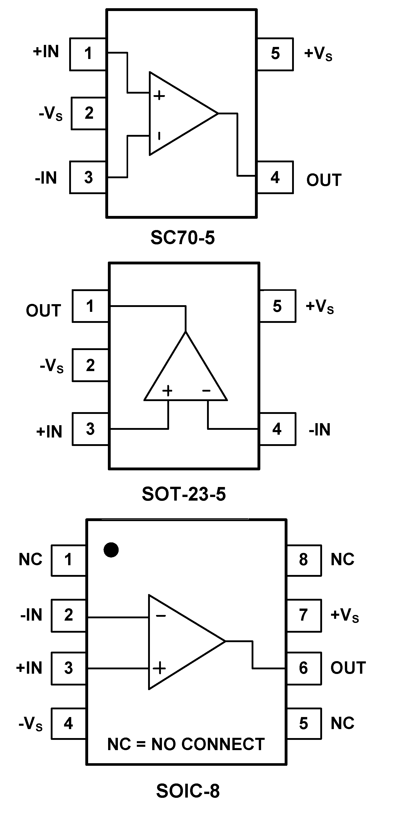
PIN CONFIGUTION

優勢替代
FEATURES
? Unmatched Price Performance
? Low Offset Voltage: 2 μV
? Zero Drift: 0.02 μV/°C
? Low Noise: 1.1 μVPP, 0.1 Hz to 10 Hz
? Quiescent Current: 17 μA
? Supply Voltage: 1.8 V to 5.5 V
? Rail-to-Rail Input/Output
? Internal EMI Filtering
PIN CONFIGUTION
