No.10668
? 11% Matched Current Sinks across Process,
Voltage and Temperature at ILED = 12.21μA
? 1% Matched Current Sinks across Process,
Voltage and Temperature at ILED = 25mA
? 11% Current Sink Accuracy across Process,
Voltage and Temperature at ILED = 12.21μA
? 3% Current Sink Accuracy across Process, Voltage and
Temperature at ILED = 25mA
? 11-Bit Dimming Resolution
? Up to 90% Solution Efficiency
? Drive from 1 to 3 Parallel LED Strings at Up to 29.5V
? PWM Dimming Input
? I2C Programmable
? Hybrid PWM + Current Dimming for Higher LED
Driver Optical Efficiency
? 1.2MHz Switching Frequency
? Low EMI by Conducting Ringing Cancelling
? Over-Voltage Protection
? Over-Current Protection
? Thermal Shutdown Protection
The SGM37603 is an ultra-compact, highly efficient, triple-string white-LED driver designed for LCD display backlighting. The device operates over the 3V to 24V input voltage, it can power up to 8 series LEDs at up to 25mA per string. An adaptive current regulation method allows for different LED voltages in each string while maintaining current regulation.
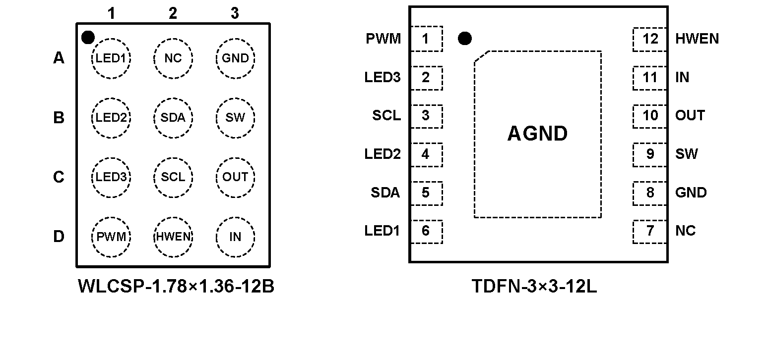
The LED current is adjusted via an I2C interface or through a logic level PWM input. The SGM37603 is available in Green WLCSP-1.78×1.36-12B and TDFN-3×3-12L packages. It operates over the -40℃ to +85℃ temperature range.

